Product Summary
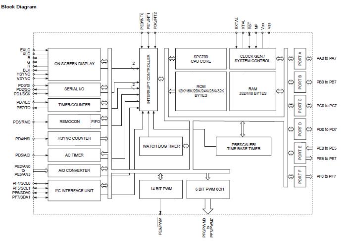
The CXP85220A-047S is a CMOS 8-bit single chip microcomputer integrating on a single chip an A/D converter, serial interface, timer/counter, time base timer, vector interruption, on-screen display function, I2C bus interface, PWM generator, remote control reception circuit, HSYNC counter, power source frequency counter and watch dog timer besides the basic configurations of 8-bit CPU, ROM, RAM, and l/O port. The CXP85220A-047S also provides a power-on reset function and a sleep function that enables lower power consumption.
Parametrics
CXP85220A-047S absolute maximum ratings: (1)Supply voltage, VDD: -0.3 to 7V; (2)Input voltage, Vin: -0.3 to 7V; (3)Output voltage, VOUT: -0.3 to 7V; (4)Medium voltage drive output voltage, VOUTP: -0.3 to 15V; (5)High level output current, IOH: -5mA; (6)High level total output current, ∑ioh: -50mA; (7)Low level output current, IOL: 15mA; IOLC: 20mA; (8)Low level total output current, ∑IOL: 130mA; (9)Operating temperature, Topr: -20 to 75℃; (10)Storage temperature, Tstg: -55 to 150℃; (11)Allowable power dissipation, PD, SDIP: 1000mW; QFP: 600mW.
Features
CXP85220A-047S features: (1)Wide-range instruction system (213 instructions) to cover various types of data; (2)16-bit arithmetic/multiplication and division/boolean bit operation instructions; (3)Minimum instruction cycle 1μs at 4MHz operation; (4)Incorporated ROM capacity 12K bytes 20K bytes (CXP85220A); (5)Incorporated RAM capacity 352 bytes (CXP85112B/85116B) 448 bytes (CXP85220A/85224A/85228A/85232A); (6)On-screen display function 12 × 16 dots, 128 types 21 words × 4 Iines (more than 4 Iines possible) Double scan mode compatible, jitter elimination circuit; (7)I2C bus interface; (8)PWM output 14 bits, 1 channel6 bits, 8 channels; (9)Remote control reception circuit 8-bit pulse measurement counter with on-chip 6-stage FIFO; (10)A/D converter 4 bits, 4channels, successive approximation method; (11)(Conversion time of 40μs/4MHz); (12)HSYNC counter; (13)Power supply frequency counter; (14)Watch dog timer; (15)Serial I/O 8-bit clock synchronization; (16)Timer 8-bit timer, 8-bit timer/counter, 19-bit time base timer; (17)Interruption 14 factors, 14 vectors, multi-interruption possible; (18)Standby mode Sleep; (19)Package 64-pin plastic SDIP/QFP; (20)Piggyback/evaluation chip CXP85100A, CXP85190 (Custom font compatible) CXP85200A, CXP85290 (Custom font compatible).
Diagrams

(Hong Kong)






