Product Summary
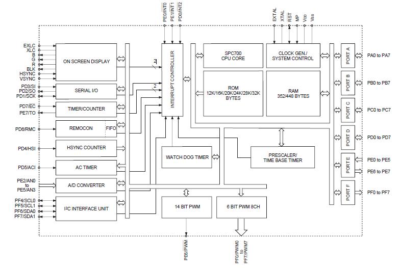
The CXP85220A-046S is a CMOS 8-bit single chip microcomputer integrating on a single chip an A/D converter, serial interface, timer/counter, time base timer, vector interruption, on-screen display function, I2C bus interface, PWM generator, remote control reception circuit, HSYNC counter, power source frequency counter and watch dog timer besides the basic configurations of 8-bit CPU, ROM, RAM, and l/O port. The CXP85220A-046S also provides a power-on reset function and a sleep function that enables lower power consumption.
Parametrics
CXP85220A-046S absolute maximum ratings: (1)Supply voltage, VDD: -0.3 to 7V; (2)Input voltage, VIN: -0.3 to 7V; (3)Output voltage, Vout: -0.3 to 7V; (4)Medium voltage drive output voltage, Voutp: -0.3 to 15V; (5)High level output current, IOH: -5mA; (6)High level total output current, IOL: 15mA; (7)Low level output current, IOLC: 20mA; (8)Low level total output current, ∑IOL: 130mA; (9)Operating temperature, Topr: -20 to 75℃; (10)Storage temperature, Tstg: -55 to 150℃; (11)Allowable power dissipation, PD: 1000mW.
Features
CXP85220A-046S features: (1)Wide-range instruction system (213 instructions) to cover various types of data, 16-bit arithmetic/multiplication and division/boolean bit operation instructions; (2)Minimum instruction cycle 1μs at 4MHz operation; (3)Incorporated ROM capacity 20K bytes; (4)Incorporated RAM capacity 448 bytes; (5)Interruption 14 factors, 14 vectors, multi-interruption possible; (6)Standby mode Sleep; (7)Package 64-pin plastic SDIP/QFP; (8)Piggyback/evaluation chip CXP85100A, CXP85190 (Custom font compatible); CXP85200A, CXP85290 (Custom font compatible.
Diagrams

(Hong Kong)






